2. 东北农业大学 电气与信息学院,哈尔滨 150030
2. School of Electrical and Information, Northeast Agricultural University, Harbin 150030, China
工业仓库内自动导引车(automated guided vehicle, AGV)的使用极大地提高了产品流通效率与配送的准确性, 促使生产工位结合更加紧密, 提升了生产作业系统的柔性. AGV的路径规划是提高工作效率和系统柔性的基础, 因此, 精准有效的路径规划成为本文的研究重点.
路径规划问题是由Lozano等[1]于20世纪60年代提出的, 即如何以最合理的方式躲避障碍物来完成任务.由于路径优化问题具有NP完备性, 相继出现很多启发式算法.文献[2]利用快速搜索随机树(RRT)算法对汽车避障进行路径规划, 该算法具有计算速度快、随机性强等特点.文献[3]给出了基于四阶贝塞尔曲线的无人车可行轨迹规划, 所求得的路径曲率更小且路径平滑好于A*算法.文献[4]给出改进的蚁群优化(ACO)算法求解复杂环境的路径规划, 改进后的算法搜索能力强, 且能够处理较大规模问题.文献[5]利用改进的遗传算法(GA)进行动态路径优化, 该算法具有较好的全局搜索能力, 求解精度更高.文献[6]利用莱维飞行对粒子群算法加以改进, 使算法粒子在大规模离散问题优化过程中逃出局部最优, 避免了过早收敛.文献[7]利用量子粒子群(QPSO)算法对移动机器人轨迹进行优化, 该算法计算速度快, 使粒子空间遍历性增强, 提升了搜索能力.以上算法改进后都体现出在其研究领域的适用性, 且算法本身性能也得到提升.然而, 很多路径规划求解都忽略了行走设备的机械性能所导致的运动状态.设备在运行过程中, 因受本身因素的限制, 通常以较低速度行走, 工作效率难以提升.例如:京东、苏宁等大型配送仓库中AGV均存在此类现象, 运载货物的AGV转向速度过大, 会导致车体侧滑或因离心力作用货物被甩出, 增加了额外作业成本.
综上分析和研究, 本文不仅考虑路径最短与平滑度最大的因素, 还兼顾速度限制的因素对AGV路径规划进行研究, 利用改进的量子粒子群算法对多目标数学模型求解, 生成静态环境下的最优路径.提出感应转向算法用于静态与动态环境下的转向行为, 使AGV表现更加灵活.同时, 根据类似汽车移动机器人的运动学模型, 制定AGV的转向速度规则, 确保其平稳快速运行, 提高工作效率.
1 问题描述与建模对AGV在静态环境中的全局路径规划建立多目标数学模型, 引入筛选法则对帕累托(Pareto)解集进行筛选, 得到最优解, 即静态环境下的最优路线.
1.1 问题描述在工作车间内, AGV从设定点出发到达目的点, 完成运输任务.要求在行走过程中, AGV能够躲避静态障碍物, 且行走路径满足多目标约束的要求, 即路径最短与转向角总和最小.先建立多目标函数模型, 再进行求解, 最后对得到的最符合约束路径的Pareto解集进行筛选.
本文假设:工作空间内地图已知; 感应设备完好, AGV为防爆双轴机电简单分布四轮驱动型; 障碍物以坐标的形式分布; AGV运行情况通过外部计算机进行控制与监测.
1.2 问题建模AGV行走完成任务必须满足两个目标约束:行走路径最短; ②路径平滑度最大, 即转向角总和最小.用这两个因素作为目标约束的原因如下:一般情况下, 路径越短行走时间越短, 能快速地到达目的点; 较大的路径平滑, 可以使AGV轴轮的机械磨损减少, 也能够降低能耗.
路径最短目标函数为
|
|
(1) |
其中: J1为最短路径目标函数, L(P)为最短路径求和计算, L(Pi, Pi+1)为Pi与Pi+1之间的距离, xi、yi为节点
|
(2) |
其中: J2为最大平滑度目标函数, θ(P)为Pi-1、Pi、Pi+1的夹角正切值求和, xi-1、xi+1、yi-1、yi+1为xi、yi的转向前后两个点的坐标.
1.3 多目标优化帕累托最优解路径规划求解同时考虑到路径最短与平滑度最大两个因素, 定义为多目标问题(multi-objective optimization problem, MOP), MOP模型、Pareto解集、非劣解等详细内容参见文献[8-9]. LRQPSO算法求解MOP模型时会产生多个非劣解, 而AGV需要选择一条路线行走, 为减少人为的随机性, 要对Pareto解集进行评价.引入文献[10]方法描述非劣解之间的拥挤距离, 拥挤距离Li定义为
|
(3) |
其中: i为非劣解的个数, fmmax为Pareto解集中第m个目标函数的最大值, N为目标函数的个数, fmmin为最小值.拥挤距离越大, 个体之间越不容易发生拥挤, 表明种群的多样性越好, 在筛选时越易被保留.
2 改进的量子粒子群算法量子行为粒子群(quantum behavior particle swarm, QPSO)算法具有较好的空间搜索能力, 但在处理多维度或离散问题时会出现过早收敛与遍历性降低的现象[11].本文解决的是多目标约束的离散问题, 要求算法求解具有较强的遍历性和高维度搜索能力.为此, 将莱维飞行与粒子随机学习机制引入到QPSO算法中, 共同对其改进.
2.1 量子粒子群算法(QPSO)QPSO算法[12-13]将量子运动思想运用到粒子搜索行为上, 其速度与位置状态更新公式如下:
|
(4) |
|
(5) |
|
(6) |
|
(7) |
其中:式(4)表示速度Vik+1更新方式, c1、c2为非负常数, 代表粒子向个体最优与全局最优学习, r1与r2为[0, 1]之间的随机数; 式(5)表示更新后的位置Xik+1, Xik为粒子当前位置, Pi(k)为个体最优值, pg(k)为全局最优值, u为[0, 1]之间均匀分布的随机数; 式(6)表示粒子全局最优值的平均值mbest, M为种群个数; 式(7)表示惯性权重w线性递减的变化方式, maxgen为最大迭代次数, iter为当前迭代次数.
2.2 算法设计文献[14-15]表明将莱维飞行引入粒子群算法可以使搜索从局部最优中逃逸并提升算法性能, 使粒子搜索有序不重复, 降低搜索过程的浪费.粒子随机学习机制能够增加种群的多样性防止过早收敛, 类似于遗传算法(GA)的变异, 这种学习机制使粒子在优化后向更好的方向搜索, 产生全局最优解的能力大幅增强.有些文献给出的随机变化是指位置系数的变化, 这种变化的搜索会产生一定的浪费, 本文提出的算法可以在一定程度上避免浪费, 改进后的算法定义为莱维随机量子粒子群(levy random quantum particle swarm optimization, LRQPSO)算法, 其状态更新公式如下:
|
(8) |
|
(9) |
|
(10) |
ui与vi服从正态分布
|
(11) |
|
(12) |
其中:式(8)表示增加c3r3Pr(k)项为粒子随机学习机制, 可使种群的多样性提升, 避免求解陷入局部最优; c3为随机学习因子, r3为[0, 1]之间的随机数; 式(9)表示增加莱维飞行的位置更新, Pr(k)为当前粒子中随机选择的粒子; 式(10)表示莱维飞行的取值分布; 式(11)和(12)分别表示ui与vi分布形式. τ为标准的伽马函数[14], 分布函数标准范围βi由[0.5, 2.3]之间的随机数改为[0.5, 1.6]之间, 经过多次测试发现, 粒子搜索性能提升, 原因是βi的范围缩小后, 能够减少搜索无效与溢出行为发生, β =1.5, 其余未解释的变量在式(7)后的文字部分有详细介绍.
2.3 求解步骤step 1:根据多目标要求对粒子种群初始化, 设置外部存储器Q与最大迭代次数maxgen, 以及c1、c2、c3等相关参数.
step 2:将粒子形式转化为量子粒子形式, 同时引入莱维飞行与粒子随机学习机制, 并行计算多目标函数的适应度值.
step 3:依据Pareto支配关系开始迭代, 将非劣解存入Q中, 并与其他非劣解进行对比更新, 产生新的非劣解解集.
step 4:当Q中存在多个非劣解时进行拥挤距离计算, 找到Q中最优解, 将拥挤距离小的非劣解淘汰再引入新的非劣解, 循环计算.
step 5:若满足终止条件, 则输出Gbest及目标函数的适应度值, 算法停止, 否则转至step 3.终止条件有两个:函数适应度值的误差小于预定值, 路径误差为0.5, 正切值误差为0.05;迭代次数超过最大允许迭代次数.
step 6:算法结束, 输出Pareto最优路径.
3 动态环境下的路径规划AGV沿前文计算得到静态环境下的规划路径行走, 当多个AGV共享相同环境时, 环境发生动态改变, 则进行二次路径规划.时间延迟理论是一种常用于多车辆设备行走相互避让的算法[16], 该方法虽能完成躲避行为, 但当参与的移动设备数量较多时, 计算会产生僵持, 可能会牺牲待操作的优秀个体, 求解效果不理想.为此, 本文利用现阶段感应技术, 提出在动态环境下避免碰撞的计算方法, 即感应转向算法.
感应转向算法(induction steer algorithm, ISA)是在感应起点均匀生成多条不交叉的曲线, 计算每条曲线曲率, 选择曲率最小且不碰撞的曲线作为行驶路径.曲率越小, 转向半径越小, 导致路径越短和平滑度越大, 其运动表现优于文献[17]提出的最短路径算法(shortest distance algorithm, SDA).
仓库在使用AGV时, 通常会让每个AGV承担不同区域的工作量, 在行走路线不交叉的前提下, 会有3种相遇情况: AGV与未知固定障碍物相遇; 多AGV相向运动相遇; 多AGV同向运动相遇.
3.1 AGV遇固定障碍物在AGV工作空间内, 由于障碍物的网络图未及时更新, 可能会发生某些地图空白处放有货物(障碍物)或临时出现工作人员等情况, 当AGV行走该处时执行感应转向算法(ISA)完成躲避.未知固定障碍有两种情况, 如图 1所示.
|
图 1 AGV避障图 |
当AGV在行走过程中遇到障碍物时要进行躲避, 转向AGV承载的货物存在瞬时惯性, 车上货物可能会发生碰撞或摩擦滑动, 为减少这种情况, 选择路径平滑度作为转向依据.平滑度与曲率定义类似, 曲率越小则平滑度越大, 导致加速度变化就越小, 行走更加安全, 路径也更短.
图 1(b)转向方式是图 1(a)的延伸, 通过感应装置反馈的结果, AGV处理器能够生成多条可供选择的路线, 从中选择曲率最小且不与障碍物碰撞的路径.考虑到曲线的一阶与二阶导数的连续性, 轨迹以曲线形式引入到坐标系中, 对曲线方程进行正交分解, 坐标如图 2所示.其轨迹方程为
|
图 2 笛卡尔坐标系中AGV行走轨迹 |
|
(13) |
正交分解为
|
(14) |
存在约束
|
(15) |
|
(16) |
|
(17) |
其中:式(14)表示轨迹正交分解表达式, x、y分别为横纵坐标系上的点, ax、bx、cx、dx、ay、by、cy、dy为方程系数; 式(15)表示AGV最小转向角度θmin计算方式; 式(16)表示选定轨迹曲率kmin计算方式, x0、y0为AGV行走轨迹上的点, x0'、x0"、y0'、y0"分别为x0、y0的一阶导数和二阶导数; 式(17)表示AGV与固定障碍物最近距离R的约束, 该约束保证AGV遇特殊情况后能自转并返回, x*、y*为AGV距障碍物最近边缘上的点.由于路径平滑度与曲率一致, 定义曲率平方的积分为平滑度成本函数, 使其作为曲率约束的目标函数, 具体如下:
|
(18) |
其中: fa(r)为平滑度成本函数; k为函数y0的曲率, 要求曲率最小且确保AGV不与障碍物相撞.
3.2 AGV相向相遇当多个AGV相向运动时, AGV(i)与(j)互感后根据自身车中心线到相向车边缘的距离确定转向方向, 并在感应距离的1/2处完成转向, 如图 3所示. 图 3中AGV的运动方式需同时满足如下约束:
|
图 3 两AGV相遇转向图 |
|
(19) |
|
(20) |
其中:式(19)表示两AGV相遇时最短距离Lij的约束, 2R为AGV间最小距离; 式(20)表示AGV感应转向最小角度, (xi0, yi0)、(xi1, yi1)为AGV(i)的起始位置和相遇位置, (xj0, yj0)、(xj1, yj1)为AGV(j)的起始位置和相遇位置.
3.3 AGV同向相遇多个AGV在工作空间内同向行走, 当遇到前方有未知障碍物时(如图 4(a)所示), 为避免碰撞(j)车执行两种躲避方案, 即超车或跟随.为保证行驶安全, 本文采取图 4(b)减速跟随行走的方式.
|
图 4 同向相遇避让图 |
对AGV设计避免碰撞的约束(i)、(j)车行走方式有
|
(21) |
|
(22) |
|
(23) |
其中: L为(i)车通过障碍物的行走距离; v0为当前运行速度; t0为(i)车通过障碍物所用时间; Δ S为相遇点到通过障碍物的弧长; Lij为AGV相遇最短距离; ai为AGV (j)转向躲避的加速度; 加速度越小AGV运载物品滑动的可能性越小; a、b为轨迹横坐标取值, vmin为转向最小速度.路径选择函数为
|
(24) |
其中: J3为AGV选择路径时的最小成本函数; fa、fb分别为平滑度函数与加速度函数; wa、wb分别为fa、fb函数的权重, wa、wb取值依个人操控倾向和工作环境而定, 若wa太大则导致路径较短, wb太大则降低AGV运输安全性, 并且有wa+wb=1.通过求得函数J3最小, 确定AGV动态环境下的行走路径.
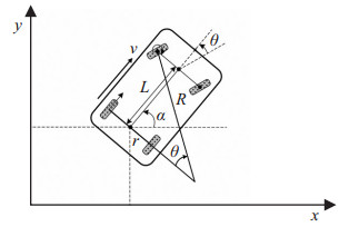
4 速度规划如图 1所示, AGV车体结构类似于汽车, 四轮允许滚动旋转且不滑动, 后轮平行于车身且固定.前轮可以自由转动, 但两车轮必须平行或满足阿克曼转向几何[3], 其转向过程的结构如图 5所示.
|
图 5 AGV结构 |
这种汽车式的移动机械设备, 其运动模型如下:
|
(25) |
非完整约束表示形式为
|
(26) |
其中: x、y分别为水平与竖直方向的速度分量, a为车体与x轴方向的夹角, θ为转向前轮角度.
根据以上约束可知, AGV速度方向平行于车体方向, 且存在限制速度的最小半径. AGV转向的运动约束如下:
|
(27) |
|
(28) |
|
(29) |
其中: k为曲率; θ为前轮转向角度; L为轴距; R为转向半径; vmax为最大转向速度; u和g为静态摩擦系数与重力加速度; vi为运行速度; m为车身质量; 式(27)为AGV不发生侧滑的条件和曲率与半径的关系; 式(28)为AGV在不同曲率的速度; 式(29)为运行速度约束.
5 算例与仿真本节首先在静态环境下进行多目标路径寻优与算法性能测试; 然后对动态环境下如何躲避障碍物进行描述, 将感应转向算法(ISA)与最短距离算法(SDA)进行对比, 给出AGV在这两个算法条件下运动的加速度、速度的变化状态.
5.1 矩阵的例子模拟AGV在100×100 m仓库内进行路径规划, 起点S (0, 10), 终点T (70, 85), 存在4个障碍物.首先采用LRQPSO算法进行多目标模型求解, 生成符合约束的解集作为初始路径; 然后与常用的NSGA-II和SPEA2算法作对比[16], 产生新的路径; 最后, 计算3个算法的拥挤距离并对比, 从而突出所提出的LRQPSO算法在求解多目标问题上的有效性.
1) 静态路径规划.
将LRQPSO算法粒子的位置以坐标形式表示, 搜索的实质是粒子速度更新导致的位置变化, 将最短路径之和与最小转向角度正切值之和作为算法求解的两个适应度值, 采取并行搜索方式寻找多个Pareto前沿解.
参数设置:为保证解的精确性, 最大迭代次数为1 000;种群规模为300;学习因子c1=c2=1.499 5, c3=2;惯性权重w取值采用线性递减方式确定; Pareto解集存储器Q=5, 即5条路径; 计算环境为Win7-PC、i5CPU、内存8 GB、编程语言Matlab2017b, 结果如图 6和表 1所示.
|
图 6 LRQPSO算法生成5条路径 |
| 表 1 LRQPSO算法生成的路径及相关信息 |
表 1有5个非劣解, 利用式(3)计算拥挤距离并舍去边缘拥挤距离无穷大的解, 可知路径S5的拥挤距离最大, 能够更好地体现解的性能属性, 可作为AGV行驶路径.
2) 算法测试与对比.
利用NSGA-II和SPEA2算法与LRQPSO算法在相同环境下进行多目标路径搜索. NSGA-II算法参数设置:最大迭代次数为1 000, 种群规模为300, 交叉概率为0.8, 变异概率0.2, 保留上一代优秀个体为6.该方法也是一种改进, 可以增加优秀种群的有效收敛速度, 求解算法优于初始遗传算法(genetic algorithm, GA).本文各算法的迭代次数与种群设置均较大, 其优点在于得到的路径距离与平滑度共同达到最小, 无逆拐点现象发生, 虽然运行时间长, 但解的精确度提升极大. SPEA2算法参数设置和计算环境与NSGA-II相同, 每个算法执行5次, 生成多目标结果如图 7、图 8、表 2和表 3所示.
|
图 7 NSGA-II算法生成5条路径 |
|
图 8 SPEA2算法生成5条路径 |
| 表 2 NSGA-II算法生成的路径及相关信息 |
| 表 3 SPEA2算法生成的路径及相关信息 |
综上, 3种算法都能搜索到前沿解, LRQPSO算法求出的5个解的拥挤距离较大, 路径长度和角度的平均差异较小, 表明解的质量好, 且计算时间较少. NSGA-II与SPEA2算法出现被困在搜索区域中间和边缘的现象, 致使路径平滑度减小, 转向角变大, 且计算时间长.因此, 所提出算法求解多目标问题更加有效, 能够搜索到高质量的Pareto前沿解.
5.2 动态环境仿真实例本文的动态环境是指在工作空间内除已知静态障碍物之外的其他未知静态或动态的物体, 包括移动的AGV与工作人员等.
目前使用的AGV, 其感应距离一般为4 m, 最高空车行走速度为4 m / s, 携带货架平均速度为0.5 m / s, 不携带货架的速度1 m / s, 转向最低速度为0.2 m / s, 且在0.2 m / s的速度下可以自由转向; J3函数中的wa、wb分别取0.6、0.4; AGV机械步长为0.1 m; u=0.3 (水泥与车轮间的摩擦系数), g=9.8 N/kg(重力常量).
AGV按照第5.1节提出的LRQPSO算法产生的路径行走时会遇到动态障碍物, 在LRQPSO算法中镶嵌一个子循环的动态转向算法, 当遇到动态障碍物时执行转向算法, 转向完成后重新执行LRQPSO算法.
遇到动态障碍物情况分为3种: AGV遇未知静态障碍物、AGV遇相向运动动态障碍物、AGV遇同向动态障碍物.因车间每个工序工种使用情况不同, 每辆AGV所负责其所属的固定区域, 故本文假设AGV不存在十字路口相遇的情况.
1) AGV遇静态障碍物.
根据AGV上的感应装置获得感应数据后, 依据式(27)选择路径平滑度最大和加速度最小的路径, 如图 9所示.
|
图 9 AGV转向图(情况1) |
由图 9可知, AGV遇到固定障碍物(人), 能够依据感应转向算法计算出其行走的最优路径, 顺利地完成躲避行为.
2) AGV遇动态障碍物——相向运动.
当多AGV执行任务相遇时, 采用所提出的感应转向算法(ISA)与文献[17]的最短距离算法(SDA)计算路径, 完成避障.
感应转向算法(induction steer algorithm, ISA):在感应点开始转向, 以路径最短与平滑度最大为目标, 计算行驶轨迹曲率变化最小的路径, 躲避移动障碍物方式如图 10(a)所示.
|
图 10 ISA与SDA的转向方式图 |
最短距离算法(shortest distance algorithm, SDA):在AGV相距车体长度一倍处开始转向, 产生标准圆弧轨迹, 如图 10(b)所示.
分别采用ISA算法与SDA算法的情况下, 其行走的路程、曲率等参数如表 4所示.其中: S为行走距离, k为路径曲率, a为加速度变化, v为速度变化.由表 4可见, 所提出的ISA相比于SDA行走路程少, 路径平滑度大, 能够提供更加安全和节能的运行方式.
| 表 4 ISA与SDA相关参数对照表 |
为了更好地理解ISA与SDA的运动机制, 利用两种算法的加速度/速度与路程之间的变化关系来解释.根据经典物理学运动公式可知, 加速度越大, 速度变化就越大, AGV运动的稳定性越低.而ISA算法能够较好地控制AGV的行走加速度, 减小速度变化, 使AGV运行更加平稳、快速, 如图 11所示.
|
图 11 ISA与SDA加速度/路程的变化情况 |
在确定起始位置后, ISA算法无论在行走路程还是路径平滑度方面都要优于SDA算法, 由图 11和图 12可见ISA算法加速度与速度的变化情况.加速度变化越小, AGV上承载的货物发生滑动的可能性越小, 在较高速度运行的同时安全性越高, 转向实景如图 13所示.
|
图 12 ISA与SDA速度/路程的变化情况 |
|
图 13 AGV转向图(情况2) |
由于SDA的转向方式对AGV机械性能要求高且转向过程中轮胎与传动轴的承压较大, 难以实现, 本文不展示.
3) AGV遇动态障碍物——同向运动.
第5节提到的AGV(i)与(j)同向行走时相遇的情况已在图 4展示.对于躲避障碍物的方式, 本文不主张超速躲避, 而是车(j)先减速避让, 让车(i)通过后再加速, (i)车与(j)车始终保持一定距离, 实景如图 14所示.
|
图 14 AGV转向图(情况3) |
通过以上3种情况表明, 所提出的感应转向算法(ISA)能有效地在动态环境中选择最佳路径.算法运行速度取决于生成的备选路径的数量, 本文选取生成30条路径, 计算环境同上节, 算法每秒执行约30次以上, 满足规划路径要求, AGV在躲避障碍物后能重新进行全局路径规划, 确保AGV始终满足多目标约束条件下到达目的点.
6 结论本文提出在静态与动态环境下的全局路径规划方法——多目标速度与控制法, 经过分析与计算得出如下结论:
1) 本文提出的LRQPSO算法在求解多目标数学模型的应用问题上, 相比于NSGA-II与SPEA2算法, 能够得到更高质量的前沿解, 即求得符合多约束在静态环境下的行驶路径.
2) 本文提出的感应转向算法(ISA)应用于动态环境下障碍物的躲避行为上, 能够减少AGV转向过程中速度与加速度的变化, 使AGV运行更加稳定, 更符合实际工作要求, 也表明该算法在动态躲避行为上具有很好的适用性.
3) 本文提出的AGV转向的速度变化规则, 能够确保AGV转向不侧滑, 减小速度变化, 提升行驶速度, 减少工作时间, 提升工作效率.
通过LRQPSO算法与ISA算法的结合, 使AGV的躲避与行走行为更加合理, 更快地完成运输任务.研究中只给出2个目标约束的路径规划, 更多的约束及路径跟踪控制问题是下一步的研究方向.
| [1] |
Lozano T, Maru A. An algorithm for planning collision free paths among polyedral obstacles commun[C]. Association for Computing Machinery, 1979, 22(10): 959-962.
|
| [2] |
Ahmead H, Qure S, Yasar A. Intelligent bidirectional rapidly exploring random trees for optimal motion planning in complex cluttered environments[J]. Robotics and Autonomous Systems, 2015, 68(6): 1-11. |
| [3] |
陈成, 何玉庆, 卜春光, 等. 基于四阶贝塞尔曲线的无人车可行轨迹规划[J]. 自动化学报, 2015, 41(5): 486-496. (Chen C, He Y Q, Bu C G, et al. Feasible trajectory planning for unmanned vehicles based on fourth-order Bezier curve[J]. Acta Automatica Sinica, 2015, 41(5): 486-496.) |
| [4] |
游晓明, 刘升, 吕金秋. 一种动态搜索策略的蚁群算法及其在机器人路径规划中的应用[J]. 控制与决策, 2017, 32(3): 552-556. (You X M, Liu S, Lv J Q. Ant colony algorithm for dynamic search strategy and application in robot path planning[J]. Control and Decision, 2017, 32(3): 552-556.) |
| [5] |
Moham E. Bezier curve based path planning in a dynamic field using modified genetics algorithm[J]. Journal Computer Science, 2017, 19(8): 50-71. |
| [6] |
杨宁, 霍炬, 杨明. 基于多层次信息交互的多目标粒子群优化算法[J]. 控制与决策, 2016, 31(5): 906-912. (Yang N, Huo J, Yang M. Multi-objective particle swarm optimization algorithm based on multi-level information interaction[J]. Control and Decision, 2016, 31(5): 906-912.) |
| [7] |
李仁府, 独孤明哲. 基于QPSO算法移动机器人轨迹规划与实验[J]. 控制与决策, 2014, 29(12): 2151-2157. (Li R F, Dugu M Z. The trajectory planning and experiment of mobile robot based on QPSO algorithm[J]. Control and Decision, 2014, 29(12): 2151-2157.) |
| [8] |
巩敦卫, 刘益萍, 孙晓燕, 等. 基于目标分解的高维多目标并行进化优化方法[J]. 自动化学报, 2015, 41(8): 1438-1451. (Gong D W, Liu Y P, Sun X Y, et al. High-dimensional multi-objective parallel evolution optimization method based on target decomposition[J]. Acta Automatica Sinica, 2015, 41(8): 1438-1451.) |
| [9] |
Vample P, Rustam I, Richard D. Steering approaches Pareto optimal multi-objective reinforcement learning[J]. Neurocomputing, 2017, 263(8): 26-38. |
| [10] |
杨景明, 侯新培, 崔慧慧, 等. 基于融合多策略改进的多目标粒子群优化算法[J]. 控制与决策, 2018, 33(2): 226-234. (Yang J M, Hou X P, Cui H H, et al. Multi-objective particle swarm optimization algorithm based on fusion multi-strategy improvement[J]. Control and Decision, 2018, 33(2): 226-234.) |
| [11] |
Niu P, Chen K, Ma Y, et al. Model turbine heat rateby fast learning network with tuning based on amelio-rated krill herd algorithm[J]. Based System, 2017, 118(9): 80-92. |
| [12] |
Sun J, Xu W B, Fang W. Quantum behaved particle swarm optimization algorithm with controlled diversity[J]. Confrences Computer Scicnce, 2006, 5(3): 847-854. |
| [13] |
Sun J, Feng B, W Xue. Particle swarm optimization with quantum behavior[C]. IEEE Congress on Evolutionary Computation, 2004, 1(12): 325-331.
|
| [14] |
Huse Y, Hakl H. A novel particle swarm optimizational gorithm with Levy flight[J]. Applied Soft Compute, 2014, 23(10): 333-345. |
| [15] |
Li T S, Chang S J, Chen Y X. Implementation of human like driving skills by autonomous fuzzy behavior control on an FPGA-based car-like mobile robot[J]. IEEE Transactions on Industrial Electronics, 2003, 50(5): 867-880. DOI:10.1109/TIE.2003.817490 |
| [16] |
Mahdi A, Nadia S. Multi-depot multi-compartment vehicle routing problem, solved by a hybrid adaptive large neighborhood search[J]. Omega, 2018, 76(4): 85-99. |
| [17] |
Abduladhem A, Alia A T. An algorithm for multi-robot collision-free navigation based on shortest distance[J]. Robotics and Autonomous Systems, 2016, 75(3): 119-128. |
2020, Vol. 39
